
Очистка пшеницы от мари белой
1,01К
Марь белая имеет мелкие плоды и плодовитость ее поражает - до 700 тысяч орешков с одного растения. Семена могут прорастать с глубины 8-10 см и сохранять жизнеспособность до 38 лет. Свежие семена не всходят.
Если с ней не бороться в поле на ранних стадиях, растение вырастет высотой до двух метров. Толстый прочный стебель, толщиной до 2 см затруднит уборку пшеницы.
Если с ней не бороться в поле на ранних стадиях, растение вырастет высотой до двух метров. Толстый прочный стебель, толщиной до 2 см затруднит уборку пшеницы.
При апробации марь белая в пшенице не нормируется, но при наличии слишком большого количества сорняков посев могут признать несортовым. Сортовая чистота пшеницы на ОС и ЭС не менее 99,7%, на РС не менее 98,0% и на РСт не менее 95,0%.
В семенах пшеницы марь белую просто найти. Плод - орешек мелкий, плоский, блестящий в центре имеет углубление.
Физико-механические свойства пшеницы и примеси:
Размер зeрновки мари белой (в оболочке): длина 1,0-2,0 мм, ширина до 1,0-1,8 мм, толщина 0,4-1,4. Критическая скорость 2,1-5,1 м/с. Плотность 0,7-1,2 г/см³. Масса 1000 семян 0,2-1,0 г.
Размер зерновки пшеницы: длина 4,0-8,6 мм, ширина 1,6-4,0 мм, толщина 1,5-3,8 мм. Плотность 1,2-1,5 г/см³. Критическая скорость 8,5-11,5 м/с. Масса 1000 семян 22-42 г.
❗ Проблема в том, что семена мари белой мелкие и при высокой влажности во время уборки они прилипают к бороздке пшеницы, а оттуда их уже ничем не отбить.
При анализе семян в лаборатории их найдут.
Содержание семян сорняков в оригинальных семенах пшеницы (ОС) не более 3 шт/кг, в элитных семенах пшеницы (ЭС) не более 5 шт/кг.
Содержание семян сорняков в репродукционных семенах (РС) пшеницы не более 20 шт/кг, в репродукционных семенах на товарные цели (РСт) не более 70 шт/кг.
И это все может быть марь белая.
И это все может быть марь белая.
Если марь белая содержится в продовольственном зерне.
По российским стандартам ограничительная норма для 1-4 класса мягкой пшеницы сорной примеси не более 2,0%, для 5 класса не более - 5% и это все может быть марь белая.
Для хлебопекарной мягкой пшеницы содержание сорной примеси не более - 2 %.
Относительно требований стран-импортеров российской зерновой продукции. В некоторых странах требования строже, чем Российские стандарты качества.
Например в для Египта содержание сорной примеси не должно превышать 1,5% от веса.
Для Евросоюза общее содержание всей примеси не более 1,5%.
Для Евросоюза общее содержание всей примеси не более 1,5%.
А для Камеруна требуется полное отсутствие семян экзогенных (сорных) растений.
Как избавиться от мари белой в пшенице:
Очистку обычно производят в два-три приема, для этого подойдут любые зерноочистительные машины, способные убрать мелкую примесь.
Перед сушкой проводят предварительную очистку вороха семян пшеницы на стационарных или передвижных ворохоочистительных воздушно-решетных машинах.
Подбор решет и скорости воздушного потока для предварительной очистки производят из расчета максимального выделения легких, крупных и мелких примесей и сорняков без потери семян основной культуры.
Затем проводят первичную очистку, где зерно пшеницы по чистоте доводится до продовольственных кондиций.
Вторичная очистка и сортирование выполняют для получения семенных кондиций на воздушно-решетных семяочистительных машинах; центробежно-пневматических сепараторах; воздушно-решетно-триерных машинах или триерных блоках.
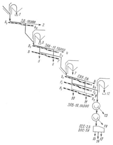
Примерная технологическая схема очистки и сортирования семян пшеницы показана на рис. 1.2. в карусели 👇
Советуем прочитать: Очистка семян на воздушно-решетной машине
Источники:
1. www.zernosushilki.com
Опубликовано: 27 февраля, 2023 в 14:30
Похожие посты

Очистка твердой пшеницы от ячменя

Очистка пшеницы от гречихи татарской

Отличия семян от зерна

Шпаргалка д.в. против пыльной головни

Надо ли вносить регулятор роста в колошение?


Нет комментариев